Lisp programming and Free Autocad Lisp files

Sample Patent Drawings, 3D and Computer Drawings

We provide a variety of drafting, design, technical and computer related services; utilizing a variety of techniques including: CAD Imaging, Graphics, Video, Video Capture, Scanning, Animation, and Sound.


Drafting

  • Mechanical Drafting
  • Electrical Drafting
  • Patent Drawings
  • Civil
  • Architectural
  • Structural
  • Scanning And Conversions
  • Redraws
  • Detailing
  • Technical Illustrations
  • Technical Manuals
  • Litigation aids

Patent Services

  • Patent Drawings
    • Utility, Design, Trademarks and Logos
    • Receive Drawings via Modem or Email
    • Print Drawings directly to your Laser Printer
    • Send Mark ups by Fax or Email
    • Quick Turnaround
    • Standard Pricing
    • US or International
  • Litigation aids
    • Drawings or Images on posterboard
    • 3D drawings or animations
    • Charts, Bar graphs, etc..

We offer a unique program which allows you to receive high quality Finals from us to your Laser or Inkjet Printer

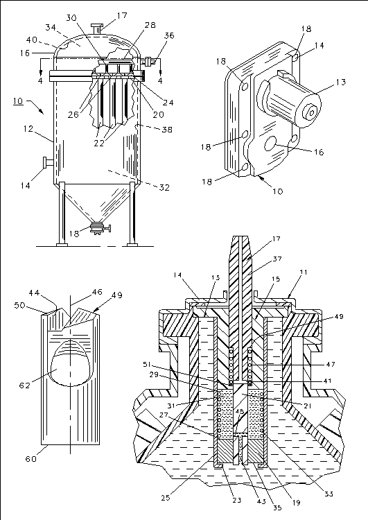
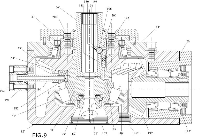
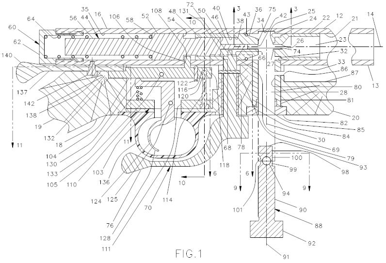
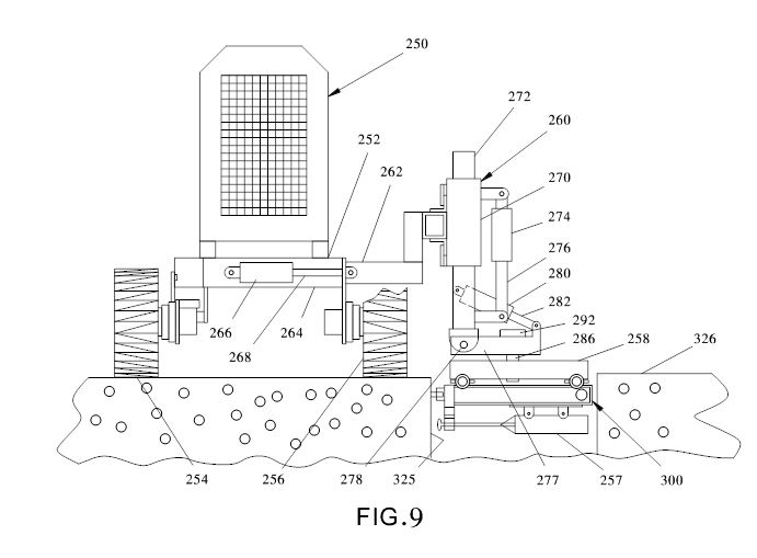
Click on the images below for samples of Patent Drawings

Patent drawings, Sheet1 Patent drawings, Sheet2 Patent drawings, Sheet3 Sample Patent drawings

Sample Patent drawings - Bike Sample Patent drawings, light fixture Sample Patent drawings, computer Sample Patent drawings, drill Sample Patent drawings - gun Sample Patent drawings

Sample Patent drawings Sample Patent drawings Sample Patent drawings Sample Patent drawings

Back To Top

Design

  • Mechanical
  • Mechanical Layout
  • Electrical
  • Electro-mechanical

Back To Top

3D Services

  • 3D images are extremely accurate.
  • Data can be used to create sample parts or renderings
  • Show what a potential product will look like.
  • Show several variations of a product before a costly prototypes are made.
  • Produce marketing or sales pamphlets without actual product.

We can provide 3D data for a variety of applications, including: Photorealistic Renderings, Animations, Stereolithography, Solid Modeling

Click on the images for an enlarged view

Sample 3D Smoke Detector

Sample 3D Detector

Sample 3D Led Panel

Back To Top

Animation

  • Presentations
  • Flying Logos
  • Merge computer images with real world images - Augemented Reality and Mixed Reality
  • Fly thru's

Back To Top

Graphics

  • Custom graphics
  • Convert formats
  • Archive images
  • Merge computer generated graphics with photos
  • Architectural-show proposed changes to buildings or scenery
  • Design logos
  • Page layout
  • Graphics layout
  • Color seperations for printing
  • High quality output
  • Virtually any size output

Back To Top

Internet & Intranet Services

  • Page Creation
    • Design/Maintain Internet Pages
    • Design Intranet Pages
    • Graphics
    • Sound
    • HTML
    • Java Script
    • VB Script
    • Active Server Pages - (ASP)
  • Server Installation
  • Setup Internet Services
  • Training
Internet Graphics/VRML

  • Animated gifs
  • Interlaced Gifs
  • Animations
  • Movies
  • Create VRML Worlds
  • Convert 3D images to VRML
  • Convert 3D Scenery to VRML
  • Animations and Sound in VRML Worlds
Back To Top

Last Update : 4/19/2018
For more information Contact us at Superior Designs
Copyright © 1995-2026 Superior Designs